Балконные рамы под остекление не ограничиваются конструкциями с открывающимся створками. Не меньший интерес представляет конструкция для остекления балкона или лоджии с раздвижными окнами. Их можно установить в обычной деревянной раме, устройство которой было представлено выше, после внесения в ее конструкцию некоторых изменений. для этого необходимо прикрепить к нижним и верхним брускам рамы полозья для стекол, которые вставляются сначала в верхнюю направляющую, а потом – в нижнюю.
...
Профессионалы советуют
Наиболее эффективными для наружных работ являются алкидные масляные краски, поскольку они глубоко проникают в волокна древесины и герметизируют их, препятствуя проникновению влаги.
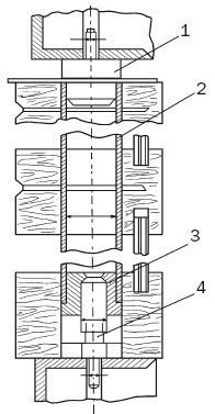
Чтобы установить на лоджии такую конструкцию, применяют метод установки распорных штанг.
Штанга – это отрезок металлической трубы диаметром 15–20 мм, которая с обоих концов имеет распорные наконечники (рис. 78).

Рис. 78. Общий вид распорной штанги: 1 – верхний наконечник; 2 – труба; 3 – резьбовая втулка; 4 – нижний наконечник
Нижний наконечник вывинчивается посредством резьбовой втулки и прочно закрепляет штангу между ограждением нижней и верхней лоджий. Потребуются 2 такие штанги, к которым скобами крепятся деревянные бруски с выбранными пазами, предназначенными для раздвижных стекол (рис. 79).

Рис. 79. Способ крепления брусков к штанге: 1 – штанга; 2 – скоба
На рис. 80 показан поперечный разрез лоджии, для остекления которой применили представленный способ.

Рис. 80. Остекленная лоджия в поперечном разрезе: 1 – верхний отлив; 2 – верхнее перекрытие этажа; 3 – верхний профиль; 4 – двойная роликовая система; 5 – верхний профиль стекла; 6 – закаленное стекло; 7 – нижний профиль стекла; 8 – силиконовый уплотнитель; 9 – нижний профиль; 10 – нижний отлив; 11 – стекло; 12 – стальная стойка; 13 – глухая рама; 14 – отлив ограждения; 15 – нижнее перекрытие этажа
Остекление балкона или лоджии рамами с раздвижными стеклами имеет как плюсы, так и минусы. к достоинствам можно отнести тот факт, что пространство балкона или лоджии визуально расширяется. А основным недостатком является то, что зимой не исключено замерзание снеговой или дождевой воды в полозьях, из-за чего окна перестают функционировать.
Если сравнивать конструкцию с раздвижными стеклами и конструкцию со створками, то последняя несколько проигрывает, так как наличие достаточно объемных конструктивных элементов уменьшает световой поток, снижая освещенность помещения, к которому примыкают балкон или лоджия, и усиливает ощущение тесноты, особенно на маленьких балконах или лоджиях, что усугубляется и открывающимися внутрь створками.
Серьезную конкуренцию деревянным рамам для остекления составляют рамы, выполненные из алюминиевого профиля. Такая конструкция, несомненно, имеет ряд преимуществ, к которым относятся:
1) высокие механические и экологические качества алюминия;
2) значительная площадь балконного остекления, которая выдерживает серьезные ветровые нагрузки;
3) высокая прочность при довольно небольшом весе всей конструкции;
4) увеличенная прозрачная площадь балкона или лоджии;
5) устойчивость к экологически неблагоприятным условиям;
6) долговечность.
Для балконного остекления обычно используют холодные однокамерные профили, так как они не снабжены теплоизоляционными вставками (рис. 81).

Рис. 81. Однокамерный алюминиевый профиль: 1 – наружная оболочка; 2 – внутренняя оболочка; 3 – оконный переплет; 4 – стекло ми створками.
Конструкцию из алюминиевого профиля можно заказать в фирме, специализирующейся на их изготовлении, хотя не исключается вариант самостоятельного ее изготовления. Поскольку разработано немало таких конструкций, только в качестве примера опишем один из вариантов, оставляя читателю простор для творчества.
Итак, конструкцию из алюминиевого профиля с раздвижными створками отличает отсутствие крупных деревянных деталей, характерных для створных переплетов. стекла вставляются в тонкие алюминиевые профили, которые почти незаметны рядом с широкими стеклянны
Остекление балкона осуществляют как на уровне его ограждения, так и с увеличением ширины на 22–25 см путем установки консольной подоконной доски. В результате балкон или лоджия становятся более просторными и функциональными.
1. сначала необходимо измерить балкон или лоджии и имеющиеся проемы, которые предстоит остеклить. Высоту от перильного ограждения до низа верхнего этажа измеряют с обеих сторон, как и длину балконной плиты.
2. Предположим, что будет изготовлена конструкция, предусматривающая создание расширенной части на уровне ограждения, для чего на поручень укладывают подоконную доску шириной 220–250 мм и толщиной 40 мм.
Поскольку сверху должна быть укреплена такая же доска, их необходимо заготовить в количестве 2 штук. установку подоконной доски следует провести с особенной тщательностью, поскольку она будет служить основанием для всей конструкции. Прежде чем зафиксировать ее, с помощью строительного уровня проверяют ее горизонтальность. Вдоль боковых сторон балкона укрепляют 2 уголка, на которых будет лежать доска (рис. 82).

Рис. 82. Расширенная конструкция балконного остекления: 1 – подоконная доска; 2 – алюминиевый профиль; 3 – поручень балконного ограждения; 4 – стена
В зависимости от материала балконного поручня выбирают и крепеж: если поручень деревянный, используют 70-80-миллиметровые шурупы, а если из уголка – болты М6-М8.
Посередине балконного ограждения можно приварить кронштейн, который послужит надежным основанием для подоконной доски и к которому ее фиксируют с помощью болтов или шурупов. Обратите внимание на то, что доска должна лежать строго горизонтально, для чего контролируйте ее положение строительным уровнем. нарушение этого условия приведет к тому, что последующее перемещение раздвижных рам будет осложнено.
3. для обрамления боковых сторон балкона изготавливают 2 деревянные рамы (о том, как это сделать, мы уже говорили), которые и устанавливают по бокам балкона и прикрепляют к верхней доске (рис. 83).

Рис. 83. Фиксация бокового переплета к верхней доске: 1 – стена; 2 – брусок-вставка; 3 – верхняя доска; 4 – переплет; 5 – подоконная доска; 6 – алюминиевый уголок
...
Профессионалы советуют
Лаки и морилки практически не содержат пигмента, поэтому после обработки ими деревянная поверхность сохраняет свою естественную фактуру.
Зазор, который появился между рамой и нижней частью верхнего балкона, устраняют с помощью бруска-вставки. То же самое проделывают снизу.
Монтируя боковые рамы, необходимо обратить внимание на то, что верхняя и нижняя подоконная доски должны быть параллельными друг другу и строго горизонтальными.
Чтобы прикрепить боковые рамы к стене, можно прибегнуть к традиционному способу – шурупам соответствующей длины, под которые в стене просверливают отверстия, а затем вставляют в них пробки. К верхней доске раму прикрепляют либо дюбелями, либо с помощью сварки. Главное, чтобы крепление было максимально надежным.
4. Закрепив рамы, их окрашивают. Не дожидаясь, пока краска высохнет, изготавливают раздвижные стеклянные створки (рис. 84).

Рис. 84. Раздвижная рама: 1 – верхний подшипник; 2 – рама; 3 – нижний подшипник