Производители профилей обычно учитывают необходимость применения уплотнителей и изготавливают продукцию, предусматривающую использование как одного из способов, так и их сочетаний.
В качестве дополнительной меры при уплотнении створок по притвору используют уплотнительные профильные планки, которые производят из дерева, алюминия и пластмассы, что позволяет подобрать их к любому профилю и любой системе остекления балкона или лоджии. Кроме того, они разнообразны по цвету и имитируют текстуру натурального дерева. Материалом для уплотнителей служат резина, синтетический каучук, силикон и термопластичные эластомеры. Последние являются оптимальным вариантом для климатических условий России.
Утепление балконов и лоджий
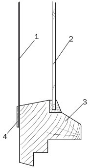
Выполнив остекление и герметизацию балкона или лоджии, мы решили только часть задачи, поскольку промежуток от пола до рамы по-прежнему подвержен воздействию дождя, ветра, мороза и др. Если ограждение балкона выполнено из кирпича, то утеплить его просто (рис. 92).
Но чаще всего встречается металлическое ограждение с небольшим экраном из асбестоцемента. В этом случае, прежде чем утеплять балкон, необходимо защитить его от воздействия природно-климатических факторов. начать следует с выбора материала для экрана, стараясь, чтобы он не слишком выделялся на фоне общего архитектурного решения здания, тем более не портил его (хотя справедливости ради следует сказать, что это у наших горожан это стоит на последнем месте, поскольку в первую очередь каждый ориентируется на свои финансовые возможности). Подобный экран может быть выполнен из кровельной стали, пластика, алюминиевых сплавов или полимерных материалов (ПВХ-вагонки). Последние относятся к новейшим материалам и решают несколько задач:
1) защищают балкон от внешнего воздействия сезонных факторов;
2) не нуждаются в регулярном обновлении (это немаловажно в условиях застекленного балкона);

Рис. 92. Кирпичное балконное ограждение: 1 – внешняя отделка; 2 – кладка; 3 – полиэтиленовая пленка; 4 – полистирол; 5 – внутренняя отделка
3) долговечные;
4) достаточно декоративные.
Для наружной обшивки предварительно прибивают рейки, располагая их вертикально или горизонтально в зависимости от того, как предполагается крепить обшивку.Чтобы прикрепить деревянные бруски к металлическому ограждению, к нему приваривают пластины с отверстиями для шурупов. кроме того, можно использовать и металлические скобы.
...
Профессионалы советуют
Используя для работы валики, выбирайте инструмент с высококачественным ворсом, поскольку он имеет однородную текстуру, не теряет ворсинки и нанесен на водонепроницаемую подложку.
После выполнения этих работ можно приступать к утеплению балкона или лоджии, используя, например, листовые утеплители (минераловатные плиты, поролон и т. п.).
На теплоизоляционных характеристиках мы останавливались ранее, упомянем только один их существенный недостаток. Поскольку через экран все равно может проникать влага, при попадании ее на утеплитель возникает сырость, образуется плесень. Помимо этого, зимой теплый воздух охлаждается в слое утеплителя, вызывая возникновение конденсата, который разрушает конструкцию ограждения, что отражается на внутренней отделке.
В итоге утеплитель начинает приносить больше вреда, чем пользы. Чтобы застраховать себя от таких неприятных последствий, необходимо проложить слой гидроизоляции, что наглядно показано на рис. 93.

Рис. 93. Усовершенствованная балконная перегородка: 1 – каркас; 2 – наружная обшивка; 3 – слой полиэтилена; 4 – утеплитель; 5 – слой полиэтилена; 6 – внутренняя обшивка
Отопление на балконе и лоджии
Оговоримся сразу, что речь не идет о том, чтобы зимой нагревать пространство лоджии или балкона до комнатной температуры.
Достаточно обеспечить положительную температуру, чтобы пребывание там не вызывало дискомфорта.
Для этого используют солнечную энергию и теплосберегающие качества различных защитных пленок, ассортимент которых на рынке чрезвычайно разнообразен как по характеристикам, так и по цене. Приемлемая температура поддерживается за счет односторонней проводимости тепла защитными пленками. Механизм таков: солнечные лучи нагревают пространство лоджии или балкона, а пленка препятствует выделению тепла наружу (рис. 94).
Некоторые умельцы врезают в систему центрального отопления трубы и устанавливают на балконе или лоджии радиатор. кроме того, что этот способ относится к противоправным.

Рис. 94. Установка светопрозрачной пленки на окне: 1 – пленка; 2 – стекло; 3 – оконный блок; 4 – крепление пленки
Он имеет и другой недостаток: даже идеально утепленные балкон или лоджия не соответствуют в плане теплосбережения уровню квартиры, поэтому при низкой температуре вода в системе может замерзнуть, что повлечет за собой вполне определенные и предсказуемые последствия.
...
Профессионалы советуют
Для каждой работы предназначен свой инструмент. Например, валики с коротким ворсом применяют при нанесении эмалевого покрытия. Чтобы окрасить грубую поверхность (кирпичную кладку, штукатурку), используют валики с длинным ворсом.
Поскольку постоянное отопление балкона или лоджии экономически невыгодно, при необходимости вполне можно использовать электрообогреватель. Для этого нужно вывести на балкон или лоджию электропроводку, причем лучше через оконную коробку или стену, просверлив отверстие соответствующего диаметра (это предупредительная мера, поскольку, если проложить провод через дверь или окно, его можно повредить при закрывании), что показано на рис. 95.

Рис. 95. Проводка электрокабеля: 1 – втулка; 2 – изоляционная трубка; 3 – выходная воронка на балкон или лоджию; 4 – провод
Для большей надежности провод прокладывают в электротехническом плинтусе (рис. 96), а розетки устанавливают на деревянной прокладке (рис. 97).

Рис. 96. Прокладка кабеля в электротехническом плинтусе: а – плинтус с надплинтусной розеткой; б – выполнение изгибов проводки;в – электротехнический плинтус в разрезе: 1 – плинтус; 2 – наличник; 3 – основание плинтуса; 4 – крышка плинтуса

Рис. 97. Варианты установки розетки: 1 – деревянная прокладка; 2 – шуруп с плоской головкой; 3 – крепежные винты корпуса розетки; 4 – шурупы для крепления прокладки; 5 – отверстие для проводки; 6 – пластмассовая втулка
Представленный способ относится к традиционным. Более современным и удобным является установка на балконе или лоджии теплых полов. Разработано немало способов их устройства, но для балкона или лоджии лучше всего подходит способ с использованием электричества.
Электрические элементы отопительной системы монтируются прямо на бетонном основании, после чего их заливают раствором или используют соответствующее половое покрытие. как это можно выполнить, показано на рис. 98.

Рис. 98. Технология устройства теплого пола: а – бетонный пол; б – пол без бетонного покрытия; 1 – основание пола; 2 – слой теплоизоляции; 3 – монтажная лента; 4 – металлическая фольга; 5 – нагревающий кабель; 6 – бетонное основание; 7 – половое покрытие
Наружу выводятся кабель и регулятор, с помощью которого можно установить комфортную температуру. Чтобы не обогревать потолок балкона, находящегося ниже, кабель следует положить после выполнения теплоизоляции пола, для чего использовать, например, керамзитобетон, пенопласт и др.