Рис. 140. Монтаж конька: а – этапы работы; б – поперечный разрез кровли; 1 – бруски; 2 – центральный брусок; 3 – коньковый брусок; 4 – рубероид; 5, 6 – асбестоцементные детали конька; 7 – скоба; 8 – резиновая шайба; 9 – гвоздь; 10 – шифер; 11 – мастика; 12 – шуруп
Интересными представляются мягкие кровельные материалы, к которым, помимо традиционных толя и рубероида, относится мягкая черепица. Этот материал выполнен на основе стекловолокна, на которое нанесен слой битума, покрытый минеральной присыпкой. Он очень декоративный, надежный и достаточно простой в монтаже. Велико и разнообразие цветов. Из последних разработок можно назвать монобитеп, экарбит, армобитеп и др. Методика укладки всех рулонных материалов одинакова для всех. для монтажа следует выбрать теплый день, так как на сухое основание мастика ляжет лучше (для каждого мягкого материала разработана особая мастика, о чем должно быть указано в инструкции). Ту сторону, которая будет нижней, очищают от посыпки. сверху покрытие снимают на ширину захода следующей полосы.
...
Профессионалы советуют
Обычное оконное стекло превращается в матовое, если между 2 стеклами насыпать песок или наждачный порошок и потереть поверхности друг о друга.
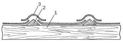
Основание смазывают грунтовкой, после ее высыхания на него равномерными полосами по всей ширине наносят слой мастики и укладывают (начиная вдоль ската) рулонный материал. Его следует наносить в 2 слоя, располагая их перпендикулярно или параллельно друг другу (рис. 141), следя за тем, чтобы кромки первого слоя были перекрыты следующим на 7-10 см.

Рис. 141. Укладка рулонного покрытия: 1 – затяжка; 2 – обрешетка; 3 – настил; 4 – 1-й слой; 5 – пергамин; 6 – 2-й слой
Покрытие должно ложиться без пузырей. Сверху рулонный материал фиксируют гвоздями, подложив под них рейку в виде треугольного бруска (рис. 142).

Рис. 142. Фиксация мягкой кровли: 1 – обрешетка; 2 – треугольная рейка; 3 – колпак из мягкого материала
Завершая покрытие, обрабатывают карнизный свес, для чего материал заворачивают под обрешетку на 10 см и прибивают толевыми гвоздями.
Особенно декоративным материалом для покрытия беседки являются светопропускающие кровельные листы, медная лента и ондулин.
Отделка оконных проемов, стен и пола. Наиболее простым и традиционным является остекление оконных проемов, методика выполнения которого практически ничем не отличается от остекления обычных окон, балконов и лоджий, если не считать того, что в некоторых случаях используют оригинальные конструкции рам, а это требует умелой резки стекла.
Беседки не требуют побелки потолка, а часто и покраски стен, поскольку последние могут просто отсутствовать.
Чаще всего деревянные конструкции покрывают антисептиком, который предохранит их от гниения. Можно затонировать деревянную конструкцию мебельным лаком, который выполняет 2 функции – защищает древесину и подчеркивает ее текстуру.
Иногда беседку с обеих сторон покрывают краской, предназначенной для наружных работ, что особенно важно для строений из металлических конструкций.
При внутренней отделке закрытых беседок часто используют панели из гипсокартона, которые крепятся на предварительно устроенный каркас, после чего шпатлюют швы и приступают к покраске.В последнее время для внутренней и наружной отделки широко стали использовать сайдинг – пластиковую вагонку. Это материал гигиеничный, влаго– и термоустойчивый, декоративный, имеет разные расцветки и довольно прост в монтаже. В комплекте к нему предлагаются детали для стыков, подоконников и т. п.
...
Профессионалы советуют
Чтобы качественно склеить деревянные рамы, их углы можно зажать бельевой веревкой, которую в виде колец надевают на углы и затягивают по диагонали, используя планку, как на лучковой пиле.
Полы в беседке могут быть разными. Это может быть, например, выровненная земля, хотя это не самое лучшее покрытие, поскольку она быстро покрывается ямками, трещинами и пр.
Так как беседки круглый год подвержены атмосферному воздействию, целесообразным является выполнение цементного пола на цементно-щебневой подушке. кроме того, на такое основание можно положить керамическую плитку, настелить дощатый пол или линолеум. О способах такого устройства пола мы уже писали. Принципиальных отличий между устройством полна на балконе и в беседке нет. Независимо от выбранного покрытия оформление пола завершают прикреплением плинтуса.
Как построить бельведер
Это открытое сооружение, выполненное из стоек и балок, образующее по периметру пяти-, шести– или восьмиугольник с остроконечной крышей (рис. 143).
В основании беседки лежит шестиугольная платформа, установленная на бетонные блоки, которые замещают фундамент, бетонную плиту или столбы, которые необходимо устанавливать по углам.

Рис. 143. Шестиугольная беседка-бельведер: 1 – горизонтальная балка; 2 – распорка; 3 – стропила; 4 – арка; 5 – столб; 6 – поручень; 7 – балка перекрытия; 8 – доски по периметру; 9 – бетонные блоки
С помощью этих же блоков можно выровнять опорное основание, углубив их в грунт. на этом этапе работы необходимо контролировать горизонтальность укладываемых блоков и основания. на прочной платформе закреплены 6 столбов, являющиеся опорой для крыши, конструкцию которой образуют стропила и балки. По периметру они соединены перилами.
После того как вы получили общее представление о том, как выглядит эта беседка, можно поговорить конкретно об ее сооружении на участке.
Первый этап. Подготавливаем материал. Чтобы узнать длину сторон платформы, нужно измерить радиус круга, которым будет ограничена беседка. Сторона шестиугольника, вписанного в эту окружность, и будет искомый радиус. Поскольку в нашем проекте уклон ската крыши составляет 37°, для того чтобы узнать расстояние от основания крыши до вершины, нужно умножить радиус основания на 1,25. Если вы предполагаете устроить более пологую или крутую крышу, то определить это расстояние и угол ската нужно будет по чертежу в масштабе.
Определив размеры, нужно приготовить балки и доски для периметра. Углы срежьте под углом 60°. Аналогично обрежьте распорки – доски, которые будут находиться между стропилами. используя стусло, разметьте углы скоса концов стропил.
Опорами являются столбы сечением 75 х 75 мм, прибитые гвоздями к деревянному основанию, которые выполнено из досок, образующих периметр, балок перекрытия и досок настила. для изготовления всех этих деревянных элементов потребуется брус сечением 150 х 38 мм.
Достаточную поперечную устойчивость конструкции беседки придают 6 горизонтальных балок, 5 поручней (на месте 6-го поручня сделан вход в беседку) и 6 арок, изготовленные из фанеры. снизу стропила из бруса сечением 125 х 50 мм прибиты гвоздями к горизонтальным балкам. Сверху между ними вставлены распорки, выполненные из бруса сечением 100 х 50 мм.
Второй этап. Устраиваем основание. Подготовленный для основания брус (6 отрезков) сечением 150 х 38 мм обрезать под углом 60°, тщательно промазать концы столярным клеем, предназначенным для наружных работ, и соединить в единую конструкцию. она и станет шестиугольным основанием, на котором все будет держаться. для усиления конструкции в стыки надо вбить по 2 рифленых крепежных стержня, а изнутри вставить металлические накладки длиной 75 мм, углы которых должны повторять углы основания (рис. 144).

Рис. 144. Сборка основание и оформление стыков: 1 – крепежный стержень; 2 – накладка