Фундаментные блоки кладут вплотную, а блоки-подушки – как вплотную, так и с перерывами (рис. 159).

Рис. 158. Фундамент с применением блоков-подушек:
1 – блоки-подушки; 2 – фундаментные блоки; 3 – цоколь; 4 – слой гидроизоляции

Рис. 159. Прерывистый фундамент: 1 – блоки-подушки; 2 – железобетонные фундаментные блоки
Расстояние между блоками-подушками должно быть не более 70 см. Промежутки между ними послойно заполняют грунтом и уплотняют. Вертикальные швы между фундаментными блоками должны обязательно располагаться на блоках-подушках. Последние устанавливают на слой песка(его предварительно тщательно уплотняют), а блоки – на растворе, заполняя швы.
...
Профессионалы советуют
Парадные хрустальные люстры, разумеется, неуместны в беседке, но небольшие светильники или бра просто необходимы, поскольку вечером они помогут создать особую атмосферу.
Такая технология дает возможность сэкономить примерно 25 % блоков, что положительно отразится на стоимости фундамента и не скажется отрицательно на его качестве. кроме того, он просто и быстро монтируется и может нагружаться практически сразу. Но на грунтах со слабой несущей способностью (илистых, торфяных и др.) от такого способа придется отказаться.
Монолитный ленточный фундамент бывает простым и армированным. Другое название армированного бетона – «железобетон». Перед заложением фундамента роют траншею, при необходимости зачищают дно и изготавливают опалубку.
Простые структуры выполняют из бетона марки 50 и выше. Но наиболее надежной является конструкция из железобетона, поэтому монолитный ленточный фундамент, усиленный металлической арматурой, закладывают чаще всего. Для его выполнения также потребуется опалубка, поскольку это не только уменьшит расход бетона, но и позволит контролировать толщину фундамента. опалубку изготавливают из древесины хвойных пород и устанавливают на бетонную подушку. Перед бетонированием ее необходимо очистить от мусора, а также заделать щели.
Каркасы, изготовленные из арматуры, собирают заранее, закрепляя стержни хомутами или используя сварку. Арматура не должна выступать из слоя бетона, который образует защитный слой толщиной 50 мм. Перед началом работ ее зачищают от ржавчины.
Монолитность конструкции достигается благодаря непрерывному бетонированию. При невозможности этого выполняют рабочие швы (так называется плоскость стыка между застывшим бетоном и только что уложенным). Характерная особенность: швы бывают горизонтальными и вертикальными, но никогда – наклонными. Возобновляя прерванное строительство, рабочий шов промывают, счищая выступившую цементную пленку стальной щеткой.
Закончив бетонирование, фундамент прикрывают тканью и периодически увлажняют. опалубку снимают примерно через 7-10 дней. Монолитный фундамент можно нагружать только после полного отвердения бетона.
Под легкие деревянные или каркасные постройки часто закладывают столбчатый фундамент, хотя не исключается его применение и под кирпичные стены. Если геологические условия диктуют необходимость глубокого заложения фундамента, тогда столбчатая конструкция оказывается экономически более выгодной, чем ленточный фундамент.
Столбчатые фундаменты (рис. 160) могут отличаться материалами, из которых выполняются столбы. Они бывают кирпичными, бутовыми, бутобетонными, каменными, бетонными и деревянными.

Рис. 160. Столбчатый фундамент (размеры указаны в миллиметрах): 1 – железобетонные блоки; 2 – плита перекрытия; 3 – блок-подушка; 4 цоколь; 5 – отмостка
Столбы устанавливаются под все углы постройки, а при значительной длине стен возводят еще и промежуточные. Деревянные столбы (так называемые стулья) применимы в случае возведения легких брусчатых, бревенчатых или каркасно-щитовых построек (рис. 161).

Рис. 161. Деревянные столбчатый фундамент: а – лежни; б – свайки
Для деревянных столбов используют лиственницу или дуб. их устанавливают строго вертикально комлем вниз. Для увеличения устойчивости нижние концы «стульев» размещают на крестовинах с подкосами, выполненных из 2 пластин длиной до 70 см и соединенных крест-накрест. В верхнем бруске выбирают гнездо, а в нижнем делают шип, благодаря чему соединение усиливается. Деревянные столбы перед применением покрывают антисептическим раствором (можно также обуглить их, смазать машинным маслом или обернуть рубероидом), что значительно продлит срок их службы.
...
Профессионалы советуют
Мебель для беседки должна быть легкой, удобной, выполненной из пластика или металла. Главное, чтобы она не портилась под воздействием солнечных лучей и влаги
Каменные и кирпичные столбы возводят из обожженного красного кирпича (рис. 162) или бутового камня (рис. 163).

Рис. 162. Столбчатый фундамент из кирпича:
1 – бетонное основание; 2 – кирпич; 3 – отмостка; 4 – слой гидроизоляции

Рис. 163. Столбчатый фундамент из бутового камня: 1 – камни; 2 – раствор; 3 – слой гидроизоляции
Минимальное сечение столба из бутового камня – 60 х 60 см, из кирпича – 51 х 51 см. Под легкие одноэтажные постройки, к которым относится гараж, допустимое сечение угловых кирпичных столбов составляет 38 х 38 см, а промежуточных – 38 х 25 см.
Фундаменты из железобетонных столбов бывают как монолитными, так и сборными. для выполнения последних используют железобетонные конструкции, часто для этого применяют отходы, например обрубки свай и др. столбы устанавливают под углами постройки на расстоянии не более 2,5–3 м. На них кладут сборный железобетонный ростверк или выполняют монолитный армированный пояс.
На слабых грунтах для передачи значительных нагрузок закладывают свайные фундаменты, которые чаще всего выполняют в виде буронабивных свай (рис. 164).

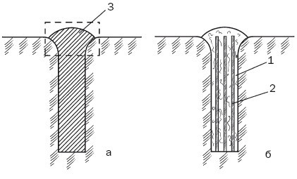
Рис. 164. Свайный фундамент: а – общий вид; б – свая в разрезе; 1 – бетон; 2 – металлическая арматура; 3 – расширенная верхняя часть
Буронабивные сваи являются разновидностью столбчатого фундамента и выполняются в пробуренных скважинах. Эта технология рассчитана для использования на грунтах со слабой несущей способностью при высоком уровне грунтовых вод и на плывунах. используемый метод – бетонирование. Применение арматуры увеличивает прочность бетона. Роль опалубки выполняет грунт при диаметре скважины 20–25 см и глубине 90-150 см. Если возникает необходимость выполнения земляных работ, в качестве опалубки используют металлические или асбестоцементные трубы необходимого диаметра.
Для бурения используют ручные, электрические, бензиновые буры или специальную бурильную технику. Глубина скважина зависит от уровня промерзания грунта.
Чтобы не допустить выталкивания фундамента на грунтах, подверженных морозному пучению, оголовник столба (на 50–60 см ниже уровня земля) покрывают чехлом из оцинкованной стали, по которому грунт будет скользить, а фундамент при этом сохранит неподвижность.Верхняя часть стены, которая возвышается над ленточным фундаментом, называется цоколем. Если заложен столбчатый фундамент, то функции цоколя выполняют ростверк или забирка.
...
Профессионалы советуют
Перед беседкой можно оборудовать террасу с навесом-перголой, посадить вокруг вьющиеся растения, расставить вазы и развесить кашпо с цветами.