В серии F117 используется электронный термостат с точностью поддержания температуры в помещении до 0,1 °C, что оборачивается значительной (до 10 %) экономией электроэнергии. Модель конвектора Atlantic F117-590 стоит 3875 руб.
В серии F18 установлен электронный термостат с хронокартой, позволяющий программировать работу конвектора на неделю вперед, что приводит к экономии до 25 % электроэнергии. Причем одна хронокарта способна управлять несколькими одновременно работающими конвекторами, число которых может достигать 20. Кроме того, в F18 имеются два режима работы (дневной и ночной) с возможностью установки рабочей температуры для каждого режима. Стоимость конвекторов этой серии колеблется от 5000 до 6500 руб.
В условиях загородного дома хорошо показали себя в работе конвекторы ленточного типа мощностью 2 кВт компании Energy (Франция). Они быстро нагревают помещение в зимнее время, например площадью 20 м2 за 30 мин, в то время когда на его протопку дровяной печью необходимо 2–3 часа.
Модельному ряду конвекторов Energy Light CEG присуща универсальность и экономичность. Их отличает ленточное исполнение нагревательного элемента, наличие датчика защиты от опрокидывания, оригинальный дизайн. Возможен как настенный вариант установки (на кронштейны), так и напольный (на ножки), которые приобретаются отдельно. Специально разработанная конструкция приборов Energy ускоряет естественную циркуляцию воздуха и способствует быстрому прогреву помещения, обеспечивая комфорт. Режим работы термостата позволяет длительное время поддерживать температуру нагревательного элемента от +50 до +70 °C, что делает обогреватель незаменимым для загородного жилья. В табл. 3.1 приведены характеристики настенных отопительных панелей (конвекторов) Energy (http://www.teplovam.ru/tov311.html).
Таблица 3.1. Характеристики настенных конвекторов Energy Light CEG

Общий вид конвектора Energy мощностью 2 кВт представлен на рис. 3.10.

Рис. 3.10. Электрический конвектор Energy, установленный под оконным проемом загородного дома
В настоящее время в российских торговых центрах можно встретить конвекторные электрообогреватели от таких компаний, как Atlantic, Noirot, Energy (Франция) Thermor (Франция), Dimplex (Канада), Nobo (Норвегия), Elegance (Финляндия), Stiebel Eltron, Ewt, Siemens (Германия), Protherm (Чехия) и проч. В продаже также имеются электроконвекторы отечественного производства и ближнего зарубежья: «Диполь» (г. Саратов), «Делсот» (г. Миасс), «Ладога» (г. Кировск), «Маяк», «Вика Интернэшнл» (Украина) и др. Отечественные модели по техническим параметрам не слишком уступают заграничным образцам, хотя иногда бывают неидеальными по дизайну.
3.1.4. Установка и уход за электрическим конвектором
К достоинствам электроконвекторов можно добавить и то, что при общих невысоких затратах на оборудование нет расходов на обслуживание и профилактику.
Настенный электроконвектор для получения наибольшего эффекта от его работы рекомендуется устанавливать на высоте до 1 м или под оконными проемами (рис. 3.10). Для обеспечения нормальной циркуляции воздушного потока нельзя заслонять электроконвектор предметами на расстоянии до 0,1 м.
Даже такой неприхотливый нагревательный прибор, как конвектор, тоже требует соблюдения основных правил эксплуатации. Все-таки следует иметь в виду, что конвектор это электроприбор, и соответственно, к нему применимы все те минимальные требования, которым должны соответствовать электроприборы. Если электроконвектор обладает высокой степенью электрической защиты, то его можно устанавливать в помещениях с высокой влажностью. В этом случае возможно даже попадание на корпус конвектора мелких брызг. Нагревательный элемент внутри конвектора закреплен таким образом, что не имеет прямого контакта с поверхностью кожуха. Не рекомендуем использовать конвектор в горизонтальном положении. Может сработать защита от опрокидывания, если она имеется в модели, и тогда конвектор просто перестанет нагреваться. Даже если защита и не сработает, эффективность нагрева будет минимальной, воздух просто не сможет должным образом циркулировать в нагревательном элементе. Прежде чем установить в сеть несколько приборов, убедитесь, что она способна выдержать нагрузку от нескольких электроконвекторов, включенных одновременно.
Для того чтобы сохранить рабочие характеристики электроконвектора, необходимо примерно два раза в год очищать нижние и верхние решетки прибора от пыли при помощи щетки или пылесоса.
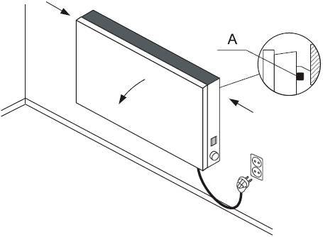
Для облегчения чистки конвектор нужно демонтировать. У моделей различных фирм крепление конвектора оригинальное. Однако большинство таких устройств крепится на кронштейне. В качестве примера на рис. 3.11 показано снятие конвектора с кронштейна. Для этого отжимают фиксатор А и после этого снимают прибор.

Рис. 3.11. Демонтаж электроконвектора
Необходимо также каждые пять лет вызывать квалифицированного мастера для проверки внутренних элементов прибора.
При сильно загрязненном воздухе на поверхности может появиться грязь, в таком случае рекомендуется проверять проветриваемость помещения (вентиляция, поступление воздуха и т. п.) и чистоту воздуха.
Корпус прибора можно чистить только влажной тряпкой. Не применяйте абразивные порошки, а также вещества, содержащие кислоты и другие агрессивные компоненты, которые могут необратимо повредить поверхности прибора.
3.2. Электрический теплый пол
3.2.1. Общая информация
Электрический теплый пол (электрическая кабельная система отопления) обладает двумя неоспоримыми достоинствами – экономичностью и долговечностью. Принцип его работы состоит в нагреве с помощью специального электрического кабеля, вмонтированного в бетонный монолит пола. Электрический теплый пол хорош для небольших помещений, а для больших площадей (свыше 100 м2) предпочтительнее водяной «теплый пол». Главное отличие этих вариантов теплых полов заключается в том, что электрические системы обогрева может при желании собрать каждый по инструкции, а вот для монтажа водяного пола обязательно потребуется профессиональный специалист. Нагретый пол создает в помещении вертикальное распределение температуры с оптимальным по комфортности для человека градиентом: на полу 26 °C, в воздухе на высоте 1,5 м 22 °C, а на высоте 1,8 м 20 °C. Напольное отопление выгодно отличается от радиаторного, т. к. отпадает необходимость устанавливать радиаторы большей длины и большей толщины (рис. 3.12).

Рис. 3.12. Распределение температуры при напольном и радиаторном отоплении
В отличие от горячих радиаторов (более +70 °C) напольное отопление не способствует возникновению положительной ионизации воздуха, неблагоприятно влияющей на здоровье человека [5].
Настенные конвекторы и тепловентиляторы не создают хорошего градиента температур, у них самая высокая температура у потолка, а для обеспечения температурного комфорта они требуют больших энергозатрат (рис. 3.13.) [6]