
Монтаж мачты высотой 127 м

Секции мачты с ловителями купольного типа подготовлены к вертолетному монтажу
В середине 80-х годов в НПК «ПАНХ» была разработана первая отечественная САФ для вертолета Ми-ЮК, которая заменила на монтажных работах штатную одноканатную внешнюю подвеску. Это устройство обеспечило не только стабилизацию груза на ВП в горизонтальном полете, но и его ориентацию по азимуту на режиме висения вертолета в нескольких фиксированных положениях в угловом диапазоне от 0° до 90°,с шагом 22,5°. Груз на ВП в этом, случае фиксировался перед началом выполнения работ в необходимом для монтажа положении на земле, без его последующей корректировки в полете по азимуту. Ошибки экипажа в определении направления ветра над местом монтажа, смена ориентиров видимости при висении над местом установки объекта приводили к необходимости выполнения дополнительной посадки вертолета и переподцепки груза с целью установки его на САФ в соответствии с проектным положением осей, а также предполагаемым направлением висения вертолета при выполнении АСМР.
В 90-х годах НПК «ПАНХ» была разработана внешняя подвеска с САФ для вертолета Ми-8МТВ, оборудованная двумя замками ДГ-65 и предназначенная для перевозки груза массой до 3000 кг на ВП, а также для выполнения строительно-монтажных работ на высотных объектах.
Конструкция подвески предусматривала оперативную отцепку грузов с нижних электрозамков без сброса удлинительных канатов и привлечения наземного персонала. При возникновении аварийной ситуации з полете подвеска вместе с грузом сбрасывалась с верхнего электрозамка по основному и дублирующему каналам (для этого достаточно нажать кнопки, расположенные на левой ручке «шаг-газ»). Контроль текущего значения нагрузки на тросах САФ экипаж осуществлял по цифровым индикаторам, расположенным на приборной доске в кабине пилотов или на специальном блоке оператора при помощи системы контроля силы по тросу (СКСТ). Одновременно с этим производилась регистрация текущего значения нагрузки на тросе внешней подвески на бортовом устройстве регистрации параметров полета (БУР-1-2Ж). Конструктивно подвеска была выполнена таким образом, что подготовка ее к работе производилась оперативно с минимальными трудозатратами.
С помощью такой системы успешно выполнялись самые различные монтажные работы, в том. числе и работы, связанные с возведением высоких телепередающих мачт высотой до 85 м. Однако в целом она имела те же недостатки, что и САФ вертолета Ми-10К, и также не обеспечивала необходимую азимутальную ориентацию груза в полете. Указанное обстоятельство требовало постоянного присутствия наземного персонала в зоне установки объекта для его разворота в проектное положение с помощью фал или специальных оттяжек, что не всегда было возможно из соображений безопасности, особенно при выполнении монтажа высотных объектов с большими значениями момента инерции монтажных блоков.

Разворот груза в проектное положение САО-26-2

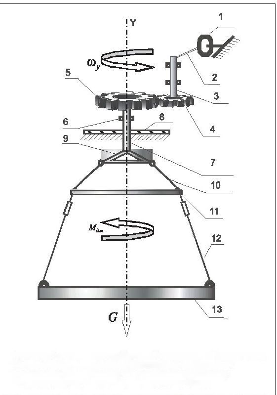
1-кольцевой тензо динамометр; 2-рычаг; 3-промежуточный вал привода; 4,5-зубчатая цилиндрическая передача; 6-упорный подшипник; 7-выходной вал САО; 8-стойка; 9-переходное звено; 10-канат; 11 — распорная балка; 12-канат внешней подвески; 13-груз
Рис. 1. Принципиальная схема САО груза на внешней подвеске вертолета Ка-32
Современные системы азимутальной ориентации (САО) грузов для вертолетов Ми-26 и Ка-32, разработанные в Краснодаре, не только позволяют фиксировать положение груза на внешней подвеске, но и дают возможность экипажу разворачивать его в полете на необходимый угол, компенсируя возникающие отклонения вертолета по курсу в момент висения над монтажным объектом. Центральным звеном, в эксплуатации вертолета и обеспечении безопасности полетов на АСМР является экипаж.
По нашему мнению, в подготовке и обучении лиц летных специальностей, особенно командиров ВС, а также в поддержании их летной квалификации, тренировке к выполнению АСМР и перевозке грузов на внешней подвеске существенная роль должна отводиться авиационным тренажерам. К сожалению, существующие комплексные тренажеры КТВ Ми-8 не позволяют моделировать ситуации, связанные с раскачкой груза на внешней подвеске, или отрабатывать режим точного висения вертолета над предполагаемым объектом, монтажа при подготовке к АСМР. Решить эту проблему пытаются специалисты санкт-петербургской авиаремонтной компании «СПАРК» и ОАО НПК «ПАНХ».
Разработанный, изготовленный и установленный в ОАО «СПАРК» первый в России тренажер нового поколения вертолета Ми-8МТВ (Ми-8АМТ) уже сейчас с достаточном точностью позволяет экипажу отрабатывать технику пилотирования вертолета на режиме висения в необходимом, для выполнения АСМР диапазоне высот. Он позволяет также моделировать полеты по ПВП (ОПВП, ППП) на реально отображаемом рельефе как горной, так и равнинной местности или над водным, пространством.
Оборудование кабины пилота и работа систем, этого тренажера полностью соответствуют реальным условиям, вертолета и позволяют качественно проводить подготовку экипажа в штатных, а также в сложных и аварийных ситуациях на всех режимах полета. Цветная система визуализации с углом, обзора 170° реально воспроизводит рельеф местности и наземные объекты конкретного района полета, в том числе и движущиеся, оперативно отражает изменение угловой видимости с учетом, времени суток и метеообстановки. Программа тренажера позволяет выводить на экран монитора инструктора изображение приборной доски вертолета с действующими приборами (вид из кабины экипажа), а также может воспроизводить любую цифровую информацию о текущих параметрах полета. Тренажер позволяет имитировать полет вертолета в ручном (штурвальном), автоматическом или смешанном режиме управления. При этом вся текущая информация о полете может быть записана в память компьютера и в дальнейшем многократно воспроизведена в любом, временном, масштабе, она может выводиться на монитор инструктора з виде соответствующих графиков. Вместе с тем, «пилотирование» вертолета здесь несколько сложнее, чем. на реальном вертолете. Сказывается отсутствие у пилота дополнительной информации в виде перегрузок, звуков, вибраций и тактильных ощущений. Но в автоматическом, и смешанном. режиме «полет» на тренажере ничем не отличается от полета на реальном вертолете.
Не менее важным, фактором, повышающим эффективность применения вертолетов на АСМР, является разработка проекта производства работ (ППР). От правильного выбора механизмов, оборудования, монтажной оснастки, метода и последовательности авиационного монтажа зависит успешное строительство любого объекта. Стоимость работ здесь, как правило, весьма велика, поэтому к летчикам предъявляются высочайшие требования по безопасности, качеству и срокам выполнения указанных работ. Ведь каждый ввод новой радиотелевизионной мачты или мачты сотовой связи дает возможность увеличить число абонентов, определяет окупаемость строительства, прибыль, а также возможности дальнейших инвестиций.

Кабина тренажера вертолета Ми-17 ОАО «СПАРК»

Узел поворотных роликов СДО, (вид со стороны рампы вертолета Ми-26)
Экономический эффект от применения вертолетов на строительстве подобных объектов возможен уже на первом (подготовительном) этапе работ за счет снижения затрат заказчика на перебазирование наземной грузоподъемной техники, сооружение временных подъездных путей и дорог, строительство вспомогательных зданий и технологических сооружений.