В типовом жилищном строительстве предусмотрено ограждение балконов и лоджий из круглых или квадратных стальных прутьев длиной 90-110 см, размещенных с шагом 10–12 см, на которых лежит деревянный поручень.
По периметру ограждения часто устанавливают экран из асбестоцементной плиты, конструкция которого одинакова для всех балконов дома.

Рис. 51. Балкон и его типовые размеры: 1 – железобетонная плита вышележащего балкона; 2 – поручень ограждения; 3 – железобетонная плита данного балкона
По всему периметру балконной плиты размещают сливы и капельники из оцинкованной стали, выводя их за пределы балконного основания на 10–15 см.
Эксплуатация и атмосферные осадки разрушительным образом сказываются как на всем здании, так и на отдельных его конструкциях, в частности на балконах. В связи с этим, приступая к переоборудованию балкона или лоджии, необходимо убедиться в их прочности и надежности. Это особенно важно, если вы собираетесь расширить имеющийся балкон (в последние годы замечена и такая практика) или пристроить его, имея квартиру на первом этаже. Следует сказать, что такие нововведения проектами не предусматриваются и требуют принятия дополнительных мер.
Кроме перечисленных выше факторов, разрушительно влияющих на балконы, можно назвать еще несколько:
1. нарушения технологии при монтаже конструкции может привести к тому, что балкон будет иметь обратный уклон (рис. 52).
В результате такого дефекта на балконе собирается дождевая и снеговая влага, которая по мере проникновения в микроскопические трещины в бетонном основании разрушает его.

Рис. 52. Технология монтажа балконной плиты: а – правильная; б – неправильная; 1 – балконная плита; 2 – стена здания; 3 – осевая линия; 4 – угол уклона
2. отсутствие сливов, капельников и защитных экранов также приводит в аккумуляции влаги, влекущей разрушение балконного основания.
...
Профессионалы советуют
Чтобы определить, насколько бутовый камень пригоден для строительства, по нему следует ударить молотком: если звук чистый и камень не рассыпался, его можно использовать.
Трещины, появившиеся на балконной плите, свидетельствуют о наличии скрытых дефектов. кроме того, они возникают в том случае, если плита испытывает нагрузки, превышающие расчетные. Наибольшую опасность представляют трещины, которые перпендикулярны арматуре, вложенной в бетонную плиту. В этом случае балкон нуждается в замене или, по крайней мере, в усилении.
Характер и объем ремонтных работ зависит от степени разрушения бетонной плиты. Незначительные дефекты вполне устранимы цементной стяжкой. для этого используют цементно-песчаный раствор (на 1 часть цемента 3 части песка), которым выравнивают плиту, выполняя небольшой уклон (1–1,5°) кнаружи (рис. 53).
Перед нанесением стяжки балконную плиту очищают, смачивают, выполняют насечки, после чего по маякам укладывают раствор. стяжка получится более качественной, если поверхность раствора посыпать сухим цементом и разровнять (этот способ называется железнением), не оставляя при этом следов от инструмента. Стяжка затвердеет примерно через 48 ч.
Если разрушения более серьезные, потребуется восстановить несущую способность плиты, для чего на очищенную поверхность укладывают арматурную сетку из стальной проволоки (диаметр ячеек, как минимум, 5 мм), причем на каждый погонный метр плиты должно приходиться 3 поперечных и 3 продольных стержня, места пересечения которых нужно связать мягкой стальной проволокой либо приварить.

Рис. 53. Ремонт балконной плиты: 1 – бетонное основание; 2 – стена здания; 3 – слой стяжки; 4 – угол уклона
Сетка не должна плотно лежать на основании, между ними следует оставить небольшой зазор, который будет заполнен бетонным раствором, слой которого должен быть в 2 раза толще, чем толщина сетки. Затем забетонированную поверхность железнят.
...
Профессионалы советуют
При выборе заполнителя для бетонного раствора остановитесь на щебне, поскольку он содержит меньше примесей и имеет более высокую адгезию с цементом, чем гравий.
Разрушению может подвергнуться не только бетонное покрытие плиты, но и ее арматурный каркас. Если он имеет явные следы коррозионного поражения, тогда конструкцию балкона необходимо усилить.
Это можно выполнить, подведя по обеим сторонам балкона стальные прокатные балки, консольно закрепив их в стене (рис. 54).

Рис. 54. Усиление балконной плиты: 1 – стальные балки; 2 – обрамляющий уголок; 3 – арматурная сетка; 4 – стена здания; 5 – отверстия в стене
В стене пробивают отверстия на две трети толщины (не менее!). Подходящим материалом для несущих балок является швеллер, который предварительно очищают и покрывают слоем масляной краски. Балки временно прикрепляют к балкону и бетонируют в стене, после чего к ним приваривают арматурную сетку и бетонируют плиту.
Подобным же способом балкон можно удлинить и расширить. Но при этом концы балок, выступающие вперед, соединяют уголком.
Арматурная сетка, используемая в этом случае, должна иметь ячейки 15 х 15 см и покрывать новую площадь балкона в том числе. Под ней делают опалубку и бетонируют. После отвердения бетона устанавливают новое ограждение. Хочется предостеречь тех, кто намерен увеличить площадь балкона в 2 раза. консольная часть балкона при расширении более чем на 40 см имеет большой опрокидывающий момент, рассчитать и устранить который может только специалист. Кроме того, такие работы проводятся только после согласования с соответствующими организациями.
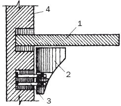
Но вернемся к усилению балконной конструкции. Это можно выполнить, применив профили усиления жесткости (подкосы), в которых проделаны отверстия для крепежных болтов, которые вкручиваются в стену так, как изображено на рис. 55.

Рис. 55. Добавочное усиление балконной плиты: 1 – плита; 2 – подкос; 3 – болты; 4 – стена здания
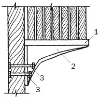
Если стена, относительно которой предполагается усиливать балконную конструкцию, деревянная, в стене просверливают сквозные отверстия под крепежные болты. с внутренней стороны стены под головки болтов выполняют углубления, маскирующие места крепления (рис. 56). Подкосы могут быть деревянными, металлическими или бетонными.
В усилении нуждаются не только балконные конструкции. Лоджии тоже могут потребовать проведения таких мероприятий, хотя в этом случае дело облегчается наличием боковых стенок, к которым основание лоджии можно прикрепить с помощью накладок (рис. 57).

Рис. 56. Дополнительное усиление балкона к деревянной стене: 1 – плита; 2 – подкос; 3 – болты

Рис. 57. Дополнительное усиление основания лоджии: 1 – торцевые выступы; 2 – плита; 3 – верхнее перекрытие лоджии; 4 – балконная дверь с окном; 5 – ограждение лоджии; 6 – наружная стена здания; 7 – накладки
Расширение индивидуального строительства в последние годы стимулировало проектирование балконных конструкций, которые часто совмещают с другими элементами дома, например с крыльцом (рис. 58, 59), при этом балконы могут быть крытыми или открытыми.

Рис. 58. Симбиоз крыльца и крытого балкона

Рис. 59. Совмещение крыльца и открытого балкона
Исправляем ошибки: строим балкон на первом этаже