Типовые проекты часто не предусматривают сооружения балкона на первом этаже, что стали делать застройщики самостоятельно после получения соответствующего разрешения. Балконы на первых этажах устраивают в виде застекленной террасы (веранды) и строят на отдельном фундаменте, глубина заложения которого должна превышать глубину промерзания грунта. Если грунтовые воды залегают на глубине 1,5 м, вполне достаточно выполнения мелкозаглубленного фундамента в траншее глубиной 50 см.
...
Профессионалы советуют
Чистоту строительного песка можно очень легко проверить. Для этого достаточно намочить его и сжать в кулаке. Если песок чистый, он не слипнется и не испачкает руки.
В соответствии с тем, что балкон будет находиться под окнами квартиры, выполняют разбивку фундамента. Поскольку далее мы подробно будем говорить о выполнении разбивки фундамента и всех с этим связанных работах, сейчас приведем только некоторые замечания, тем более что рисунки практически не нуждаются в комментариях.
Размеры пристроенного балкона могут превышать стандартные, при этом он может захватывать окна нескольких комнат или комнаты и кухни, которые выходят на одну сторону. Кроме того, необходимо учесть, что фундамент вновь построенного балкона должен вплотную примыкать к фундаменту основного строения (рис. 60).
Если соседи уже построили такой балкон, новая пристройка должна примыкать к имеющейся пристройке (рис. 61).
Если речь идет о лоджии, тогда фундамент будет ограничен ее боковыми стенками (рис. 62).
После выполнения обноски переходят к земляным работам. Грунт из котлована или траншеи лучше вывозить сразу, чтобы не загромождать подъезд или подход к стройплощадке. Если выполняется пристройка к уже заселенному дому, во избежание несчастных случаев необходимо выставить соответствующее ограждение.

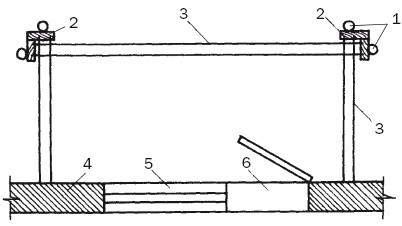
Рис. 60. Обноска пристройки: 1 – столбики; 2 – доски; 3 – шнур; 4 – стена здания; 5 – окно; 6 – будущая дверь

Рис. 61. Обноска фундамента при уже имеющейся пристройке слева: 1 – колышки; 2 – доски; 3 – шпагат; 4 – стена здания; 5 – окно; 6 – стена соседней пристройки
Для фундамента оптимально использование стандартных бетонных блоков сечением 2400 х 60 х 30 см, поскольку нагрузки на него не будут слишком значительными. Высота фундамента должна совпадать с высотой фундамента основного строения, как и наружная его отделка.

Рис. 62. Обноска фундамента при наличии лоджии:
1 – колышки; 2 – контуры фундамента; 3 – шнур;
4 – балконная плита второго этажа; 5 – окно первого этажа;6 – уровень будущей кирпичной кладки; 7 – контуры будущей балконной двери
Для гидроизоляции на фундамент кладут два слоя рубероида. При этом необходимо учесть возможность сооружения подвала в пристройке. Если это предполагается, тогда гидроизоляцию выполняют в 2 этапа: первый раз ее кладут на высоте 15–20 см от земли, а второй раз – перед перекрытием. Если в пристроенном балконе будет настелен деревянный пол, верхняя гидроизоляция не должна доходить до деревянного настила примерно 20 см.
Стены пристройки выполняют в один кирпич. Оптимальный вариант – цепная кладка, при которой соблюдается горизонтальная и вертикальная перевязка швов. Боковые стены можно поднять на всю высоту пристройки. Переднюю поднимают на высоту подоконной плиты дома, оставляя место под остекление. Пристроенный балкон по конструкции напоминает лоджию (рис. 63).

Рис. 63. Пристройка балкона-лоджии на первом этаже: 1 – фундамент; 2 – кирпичная кладка; 3 – балконная плита второго этажа
В качестве верхнего и нижнего перекрытий можно использовать стандартную железобетонную плиту длиной 3–6 м и шириной 120–180 см. При этом нижняя плита одновременно будет и полом.
...
Профессионалы советуют
Если для приготовления бетона лучше подходит крупно– и среднезернистый песок, то для кладочного используйте только мелкий.
Возможен и другой вариант, когда боковые стенки также оставляются под остекление. Тогда для нижнего перекрытия можно будет использовать железобетонную плиту, а для верхнего – древесину, из которой выполняют каркас и обрешетку, а затем все накрывают любым кровельным материалом (рис. 64).

Если для верхнего перекрытия использовали железобетонную плиту, в качестве кровли можно настелить на горячую мастику 2 слоя рубероида. При этом предварительно нужно выполнить уклон из керамзитобетона, направленный к наружной стороне, что обеспечит хороший отток воды с кровли. Места ее примыкания к стене основного строения нужно обработать особенно тщательно, для чего изоляционный ковер должен заходить на стену не менее чем на 10 см. Для кровли можно использовать и листовой материал (шифер, оцинкованную сталь, металлочерепицу, проф-настил и др.), под который надо устроить деревянный каркас, соблюдая уклон кнаружи. В местах примыкания кровли к стене дома укладывают предохранительный пояс из оцинкованной стали и загибают его не менее чем на 5–7 см на стену.
...
Профессионалы советуют
Для кладки стен, которые будут находиться в условиях воздействия высокой температуры (печи, дымоходы) и повышенной влажности (фундаменты), категорически не подходят силикатные материалы.
Крышу можно утеплить, если в промежутки между стропилами положить минераловатные плиты или другой теплоизоляционный материал.
После того как закончено основное строительство вместо оконного блока устанавливают узел «окно – дверь» (рис. 65).
Работу по установке балконного блока начинают с демонтажа окна и разборки части стены от подоконника до пола, чтобы ширина образовавшегося проема была равна ширине балконного блока, который должен плотно вставляться в проем. Места стыковки заполняют монтажной пеной и прикрывают нащельником. Дверь должна открываться внутрь помещения.

Рис. 65. Балконный блок «окно – дверь»: 1 – дверной блок; 2 – нащельник; 3 – доска, обработанная антисептиком; 4 – монтажная пена; 5 – рубероид; 6 – дверной слив
Со стороны комнаты укладывают подоконную доску (если старая находится в хорошем состоянии, ее можно просто укоротить, если она пришла в негодность, ее заменяют новой), а снаружи – слив, изготовленный из оцинкованной стали (рис. 66).
Новый подоконник изготавливают из доски толщиной 40–50 мм, которую строгают, выбирают калевки и слезник. до установки нижнюю его сторону обрабатывают антисептиком. В грань доски, обращенную к окну, на треть длины вбивают длинные гвозди, заостренные с обоих концов. Подоконную доску заводят под четверть нижнего бруска оконной коробки и прибивают, нанося удары молотком через деревянную прокладку. Уклон доски внутрь не должен быть более 1°.

Рис. 66. Установка подоконной доски: 1 – гвоздь; 2 – подоконная доска; 3 – слезник
Подоконник можно установить на известковом растворе, заделав обработанный антисептиком конец в штукатурку.
Внизу коробки балконного блока с обеих сторон устанавливают пороги.В завершение строительства балкон можно остеклить, предварительно установив раму балконного окна.
Стекло и все, что с ним связано
Итак, первое, что приходит в голову, когда речь заходит о балконе или лоджии, – это желание их остеклить. Но предварительно неплохо бы иметь представление о том, что такое стекло, какие виды стекол производятся и каковы их свойства.