
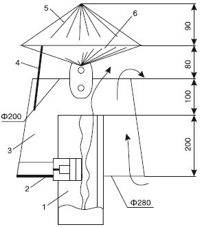
Рис. 4.35. Вытяжная система гаража: 1 – труба; 2 – хомут крепления; 3 – конусная насадка; 4 – лапка крепления колпака; 5 – колпак; 6 – колпак с двойным конусом
Гараж, возведенный под отдельной крышей, обычно располагают на таком расстоянии от улицы, чтобы была возможность на время оставлять машину возле дома, не открывая гараж. Иногда же гараж размещают таким образом, чтобы его въездные ворота были частью забора: такая планировка экономит место. Отдельно стоящий гараж можно соединить с домом или другими надворными постройками навесом – так удобнее добираться до него во время дождя или снегопада.
Обычно к фундаменту и стенам гаражной постройки не предъявляются особые требования по теплоизоляции, хотя можно сделать и отапливаемый гараж. Правда, это повлечет дополнительные затраты. Но, если машина эксплуатируется круглый год, а гаражная постройка кирпичная, утепление нужно продумать обязательно.
Наличие смотровой ямы в гараже, бесспорно, удобно (рис. 4.36, 4.37). И все-таки многие специалисты рекомендуют от нее отказаться, потому что выемка ниже уровня пола дает перепад температур. В результате испарения приведут к образованию конденсата, и днище автомобиля, постоянно стоящего над ямой, начнет ржаветь. Но если вы решили, что удобство важнее, постарайтесь обустроить смотровую яму, учитывая специальные правила.

Рис. 4.36. Оборудование гаража и поперечный разрез со смотровой ямой и подвалом: 1 – верстак с тисками и стеллажи (полки); 2 – облицовочная доска; 3 – рубероид; 4 – балка перекрытия; 5 – балка навесного потолка (антресоли); 6 – щит антресоли; 7 – петли навески антресоли; 8 – отмостка; 9 – фундамент; 10 – смотровая яма; 11 – погреб (подвал)
Если грунтовые воды на участке подходят на глубину выше 2,5-3 м, яму в гараже делать нецелесообразно, как и подвал для хранения продуктов. Планировка гаража должна позволять размещение автомобиля в стороне от смотровой ямы и люка в подвал. Ширина смотровой ямы должна быть на 10-15 см меньше расстояния между колесами автомобиля, а глубина – достаточной для работы в ней человека в полный рост. Стены и пол ямы бетонируют, а к верхним краям крепят металлические уголки, чтобы исключить соскальзывание колес машины.

Рис. 4.37. Комфортный и простой гараж со смотровой ямой и подвалом: 1 – верстак с тисками и стеллажи; 2 – облицовочная доска; 3 – рубероид; 4 – балка перекрытия; 5 – балка навесного потолка; 6 – щит антресоли; 7 – петля навески антресоли; 8 – отмостка; 9 – фундамент; 10 – смотровая яма; 11 – подвал
К полу гаража также предъявляются определенные требования: покрытие должно быть стойким к длительным механическим нагрузкам и воздействию машинного масла и горючего.
К задней стенке рекомендуется прикрепить на высоте бампера деревянную или резиновую прокладку, чтобы смягчить случайные удары при въезде в гараж. Машину лучше ставить выхлопом в сторону ворот.
В ряде случаев гараж устраивают в подвале, ниже уровня земли. Это возможно, если подвальное помещение используется полностью, а его потолок изготовлен из огнестойкого материала.
Для подземного гаража особое значение имеет въездная рампа. Ее уклон должен составлять 10-12°, максимум – 15°.
Площадка перед воротами устраивается с обязательным уклоном от постройки, но не более 1 м. В самом низком месте размещают сток для воды с отводом в канализационную сеть – это позволит избежать излишней влажности площадки в дождливую погоду и заснеженности зимой. В верхней части рампы можно сделать укрепленный откос, чтобы улучшить обзор.
Если вы планируете использовать загородный дом только как сезонную дачу, строительство капитального гаража необязательно. Можно ограничиться навесом высотой 2-2,5 м с односкатной крышей. Для устройства навеса используют брусья или балки с опорой на стойки. Стойки располагают по периметру площадки на расстоянии 1,5 м друг от друга. Для балок годятся бревна диаметром 10-12 см или брусья сечением 10?10 см. Можно также использовать металлические трубы диаметром 3-4 см и асбестоцементные трубы диаметром 10-15 см. Стойки закапывают на глубину от 80 см до 1 м, землю уплотняют и бетонируют. Перед установкой концы стоек обмазывают битумом и обертывают толем. Стойки из металлических труб наиболее долговечны; для крепления в них обвязок сверлят сквозные отверстия под болты.
Если стойки обшить досками и снаружи обить листовой сталью, а из досок, обитых металлическими уголками, сделать простейшие ворота, навес превратится в подобие гаража, вполне достаточное для временной стоянки автомобиля.
Отдельно следует сказать о материалах для гаражной постройки. Несмотря на многочисленные достоинства древесины, использовать ее для гаража нежелательно: велика вероятность пожара. Металл тоже не рекомендуется, но по другим причинам: летом в металлическом гараже жарко, а во влажную погоду на стенах внутри образуется конденсат. И то и другое вредно для автомобиля. Целесообразно использовать бетон и кирпич.
Оборудование гаража включает освещение, вентиляцию, стеллажи для хранения различных деталей. По возможности в гараже оборудуют и водопровод.
Помещение должно быть сухим, с температурой от +5 до -10 °С и относительной влажностью от 60 до 70 %.
Порядок строительства гаража
После того как оптимальное место для гаража выбрано, необходимо подготовить рабочую площадку. Почву удаляют на глубину 10-20 см, затем проводят разметку так, чтобы углы были прямыми. У каждого угла вбивают колышки, натягивают разбивочные шнуры. По разметке роют котлован под фундамент (рис. 4.38). Глубину котлована устанавливают в зависимости от качества грунта: в сухом песчаном грунте достаточно 60-80 см, а в глинистом – 80-100 см. Для закладки цоколя поверх котлована снаружи и внутри укладывают доски или брусья по размеру планируемой постройки. В котлован заливают бетонную массу (можно – с добавлением битого кирпича, щебня) и хорошо утрамбовывают. Крепежные элементы устанавливают до того момента, как затвердеет бетон.

Рис. 4.38. План фундамента под гараж: 1 – деревянные колышки; 2 – разбивочный шнур; 3 – банкет
Следующий этап строительства гаража – устройство пола. Площадка засыпается 10-сантиметровым слоем песка. После его утрамбовки поверх укладывают слой толя или промасленной бумаги. Для бетонного пола необходим слой бетона толщиной 10-12 см. Добиться равномерного распределения и уклона в сторону ворот можно, если вдоль стены на расстоянии 60 см от стены уложить две деревянные планки с нужным наклоном. Доской, поставленной на ребро, по этим планкам выравнивают поверхность бетонной массы. После завершения работ планки убирают, поверхность затирают теркой.
Стены гаражной постройки лучше всего делать кирпичными. Кладку выполняют в 1/2 кирпича, с угловыми и промежуточными столбами в 1 кирпич. Такой вид кладки дает возможность использовать ниши между столбами внутри гаража для оборудования стеллажей, полок и т. д.
Крышу гаража обычно делают односкатной, пологой. Материалом могут послужить деревянные балки, поставленные на ребро, с опорой на столбы. Обшивку выполняют сплошной из досок толщиной 4-5 см. В качестве гидроизоляции применяют рубероид: материал настилают в три слоя и проливают горячим битумом, а затем обсыпают песком.