Размещение отопительных приборов
На рис. 28 показаны варианты установки отопительных приборов. Как правило, их монтируют в стенных нишах под окнами, располагают вдоль стен, навешивают в один или два ряда, располагают открыто или за декоративными панелями.
При условии, если отопительные приборы устанавливаются в 2 ряда или в стенной нише, площадь их нагревательной поверхности должна быть увеличена примерно на 5%. Это даст возможность иметь необходимую теплоотдачу. Если приборы монтируются за панелями, площадь нагревательной поверхности нужно уменьшить на 10%, т. к. в этом случае теплоотдача обычно увеличивается. Расположение отопительных приборов в декоративных шкафах улучшает интерьер помещения, но теплоотдача значительно снижается (примерно на 12%).
Самым распространенным вариантом установки приборов является размещение их вдоль наружных стен под окнами. В этом случае нужно учитывать следующие моменты:
– длина отопительного прибора должна составлять 50—75% от длины оконного проема. Исключение составляют окна с витражами. В этом случае длина окна и отопительного прибора должны быть равными;
– вертикальные оси оконного проема и отопительного прибора должны совпадать (отклонение – ±5 см).
Если отопительные приборы установлены у наружных стен дома, то радиационное охлаждение помещения значительно снижается, а температура нижней части внутренней стены увеличивается. Это означает, что если подоконник узкий или его нет вообще, то конвекционные потоки от приборов перекрывают доступ холодного воздуха в помещение (рис. 29, а, б).

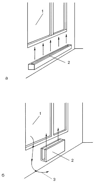
Рис. 28. Варианты размещения отопительных приборов: а – в нише стены; б – в специальном укрытии; в – за щитом; г – в два яруса (один над другим); 1 – отопительный прибор; 2 – стена

Рис. 29. Движение воздушных потоков в помещениях при расположении отопительных приборов: а – под окном без подоконника; б – под окном с подоконником; в – у внутренней стены; 1 – отопительный прибор; 2 – окно; 3 – циркуляция нагретого воздуха; 4 – пол; 5 – потолок

Рис. 30. Воздушные потоки при установке под окном отопительных приборов различного типа: а – низкий и широкий прибор; б – высокий и узкий прибор; 1 – окно; 2 – отопительный прибор; 3 – просачивающийся через окно холодный воздух
Около внутренних стен дома отопительные приборы не устанавливают практически никогда. Такой вариант допускается, если в помещении люди находятся непродолжительное время или зима в данной местности короткая и теплая. При такой установке отопительных приборов воздух у пола не прогревается. Немного улучшить это состояние поможет крепление прибора возле самого пола (рис. 29, в).
В случае размещения отопительных приборов у внутренних стен также можно найти положительные стороны. Среди них можно назвать:
• повышенную теплопередачу отопительных приборов;
• сокращение длины теплопроводов;
• уменьшение числа стояков.
Если помещения имеют высокие потолки, то отопительные приборы должны быть высокими и узкими. Во всех остальных случаях следует выбирать широкие и низкие приборы.
В случае установки узкого прибора под окном в верхней части комнаты воздух будет перегреваться, а холодные потоки – опускаться с обеих сторон от прибора (рис. 30, а). Если используются широкие и низкие приборы, смонтированные у самого пола, комната прогреется полностью (рис. 30, б).
Типы отопительных приборов
Все отопительные приборы классифицируют по следующим параметрам:

Рис. 31. Поперечный разрез отопительных приборов различных типов: а – секционный радиатор; б – панельный радиатор; в – гладкотрубный из трех труб; г – конвектор с кожухом; д – прибор из двух ребристых труб; 1 – канал теплоносителя; 2 – пластина; 3 – ребро трубы
– способ теплоотдачи;
– тип нагревательной поверхности;
– величина тепловой инерции;
– материал, из которого изготовлен отопительный прибор;
– высота отопительного прибора.
Теперь немного подробнее о каждом параметре. По способу теплоотдачи отопительные приборы подразделяются на несколько типов (рис. 31):
– конвективные (конвекторы и ребристые трубы);
– радиационные (потолочные излучатели);
– конвективно-радиационные (секционные и панельные радиаторы, гладкотрубные приборы).
Самый высокий уровень теплоотдачи имеют конвекторы с кожухом и секционные радиаторы, а самый низкий – гладкотрубные приборы и конвекторы без кожуха.
По типу нагревательной поверхности отопительные приборы бывают:
– с гладкой нагревательной поверхностью;
– с ребристой нагревательной поверхностью.
По величине тепловой инерции отопительные приборы можно разделить на:
– аппараты с малой тепловой инерцией;
– аппараты с большой тепловой инерцией.
Ко вторым следует отнести секционные радиаторы с большим объемом воды и медленно изменяющие теплоотдачу. К первым относятся конвекторы, имеющие небольшую массу и емкость. Они быстро изменяют теплоотдачу при регулировке входящего теплоносителя.
По материалу изготовления отопительные приборы бывают:
– металлические (чугунные, стальные, медные, алюминиевые и др.);
– керамические;
– пластмассовые;
– комбинированные.
По высоте отопительные приборы могут быть:
– высокими – более 65 см;
– средними – 40—65 см;
– низкими – 20—40 см;
– плинтусными – менее 20 см.
На рис. 32 изображены конвекторы, представляющие собой ребристые нагревательные приборы. Они бывают с кожухами, которые изготовлены из листового чугуна, стали, алюминия, асбестоцемента и пр. Кроме этого, конвекторы выпускаются и без кожухов.

Рис. 32. Конвекторы: а – с кожухом; б – без кожуха; нагревательный элемент; 2 – кожух; 3 – воздушный клапан; 4 – оребренные трубы; 5 – решетка; 6 – стена
Теплоотдача конвектора напрямую зависит от высоты кожуха. Без кожуха конвектор обладает теплоотдачей в 100%. При высоте кожуха 25 см этот показатель возрастет до 120%; при высоте 40 см – до 130%; при высоте 60 см – до 140%. Из этого следует, что чем выше кожух, тем больше тепловая отдача.
При сравнении конвекторов с другими видами отопительных приборов выясняется, что теплоотдача конвекторов значительно ниже. Это видно из табл. 32.
Таблица 32
Сравнительная теплоотдача различных отопительных приборов

Важно и то, что конвекторы совершенно не выдерживают гидравлических ударов системы отопления и требуют наличия теплоносителя высокого качества. Кроме этого, они создают тепловые потоки, которые поднимают в воздух пыль и другие вредные вещества, перемещая их по жилым помещениям.
При использовании конвекторов для обогрева помещений температура в них не всегда бывает комфортной. Это связано с тем, что потоки нагретого воздуха поднимаются вверх и скапливаются под потолком, а холодный воздух оттесняется к полу.
Несмотря на все отрицательные стороны использования конвекторов, они являются самыми популярными отопительными приборами во всем мире. Это объясняется тем, что они обладают небольшим весом, малой металлоемкостью, прекрасным внешним видом, простотой монтажа и эксплуатации.
В настоящее время российские фирмы стали выпускать конвекторы, ни в чем не уступающие зарубежным аналогам. По некоторым параметрам они даже лучше, потому что адаптированы к российским условиям. Это означает, что отечественным конвекторам не нужен теплоноситель слишком хорошего качества, они не нуждаются в установке дополнительных очистительных фильтров и в предварительной подготовке воды. В табл. 33 даны технические характеристики конвекторов российских фирм-производителей.