Котлы с моделирующими горелками
Самыми современными моделями водогрейных котлов являются аппараты, оснащенные моделирующими горелками, которые дают возможность плавно менять мощность котла при постоянных значениях КПД.
В такого рода котлах изменяется количественное соотношение воздуха и подаваемого топлива, т. е. изменение количества воздуха и аэродинамического сопротивления в камере сгорания сопровождается изменением количества топлива.
Моделирующие жидкотопливные горелки с предварительным подогревом топлива дают последнему возможность полностью сгорать в камере и намного уменьшают вредные выбросы в атмосферу. Они получили название «горелки синего пламени», тогда как обычно оно окрашено в желтый цвет. Для того чтобы горелка имела синее пламя, топливо предварительно подогревается электрическим нагревателем или обратным газовым потоком.
Материалы для изготовления котлов
Как правило, корпусы водогрейных котлов изготавливаются из чугуна или стали. Чугунные котлы меньше подвергаются коррозии, но имеют большой вес, что мешает транспортировке и монтажу. Кроме этого, минусом чугунных корпусов является их хрупкость: разогретый котел, наполненный холодной водой, может дать трещину. Стальным котлам не страшны температурные перепады, т. к. сталь намного пластичнее чугуна.
В качестве материала изготовления чугун и сталь используются при производстве теплообменников для котлов. Иногда, но очень редко теплообменники делают медными. Для теплообменников главным является не материал, из которого он изготовлен, а специальное защитное покрытие, имеющееся на его внутренних стенках. Этот защитный слой – гарантия того, что на стенках не будет скапливаться сажа. Это повысит теплоотдачу котла и значительно сократит объемы потребления топлива.
Обычно чугунные котлы рассчитаны на 20—50 лет эксплуатации, а стальные – на 15 лет. Это еще не значит, что через 15 лет стальной котел придет в полную негодность и потребует замены на новый. Скорее всего достаточно будет почистить внутренние стенки теплообменника, заменить некоторые детали, и котел можно снова эксплуатировать.
Твердотопливные котлы
Как уже говорилось выше, для работы твердотопливных котлов используется бурый или каменный уголь, дрова, торф, сланцы и пр. При эксплуатации такого рода котлов затрачивается много времени и сил на их обслуживание. Например, за топочной камерой должно вестись круглосуточное наблюдение, котел время от времени требуется загружать топливом, для бесперебойной работы котла нужны довольно значительные запасы топлива, а после сжигания топлива следует очищать котел от шлака и т. д.
Поскольку эффективность сжигания твердого топлива невелика, то и КПД работы такого котла будет низким. Большим минусом является и то, что на колосниковой решетке необходимо постоянно поддерживать определенный слой топлива.
Но и у твердотопливных котлов имеются положительные качества. К ним можно отнести:
• многофункциональность котлов, т. е. они могут работать совместно с кухонными плитами;
• значительный срок эксплуатации (примерно 20—50 лет – чугунных, 10—15 лет – стальных котлов);
• простота и легкость ремонта – пришедшую в негодность секцию легко снять и заменить на новую;
• небольшая стоимость.
Если вы все-таки отдали предпочтение твердотопливному котлу, то он должен быть оснащен топкой длительного или затяжного горения с использованием твердого топлива высокого качества.
Водогрейные котлы, работающие на каменном угле, изготавливаются из чугуна и имеют наружную обшивку, выполненную из листовой стали. Такие котлы обычно имеют несколько секций, между которыми выполнены прокладки из листового асбеста. Поскольку дымовые газы, отходящие от котла в процессе работы, имеют довольно высокую температуру (250—400° С), то КПД работы котла резко снижается. Для уменьшения температуры отходящих газов и повышения эффективности работы твердотопливные котлы присоединяют к дымовой трубе через отопительный щиток. Если во время растопки котла тяга будет плохой, следует открыть заслонку прямого газохода, направив газы в дымовую трубу. После установления хорошей тяги заслонку закрывают, в результате дымовые газы идут в отопительный щиток.

Рис. 12. Секционный водогрейный котел КЧММ-2: а – продольный разрез; б – поперечный разрез
Среди самых распространенных чугунных твердотопливных котлов можно назвать следующие марки: КЧММ, КЧММ-2, КЧМ-1, КЧМ-2, КЧМ-3 и т.д. Все перечисленные котлы рассчитаны на давление 0,2—0,4 МПа, КПД – 75%. Поскольку такие котлы имеют довольно значительный вес, при их монтаже возникают некоторые трудности.
КЧММ-2 (рис. 12) представляет собой 2—4-секционный котел, оснащенный частично охлаждаемой колосниковой решеткой (охлаждаемые и неохлаждаемые элементы установлены в ней поочередно). В табл. 5 даны некоторые технические характеристики твердотопливного водогрейного котла КЧММ-2.
Таблица 5
Технические характеристики твердотопливного котла КЧММ-2


Рис. 13. Секционный водогрейный котел КЧМ-1: а – продольный разрез; б – вид спереди
КЧМ-1 (рис. 13) отличается от предыдущей марки только большим количеством чугунных секций.
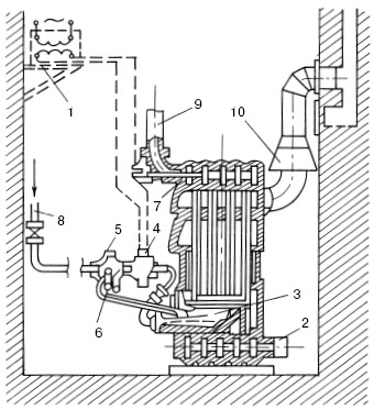
КЧМ-2 (рис. 14) представляет собой котел, имеющий от 2 до 8 секций, топочное отверстие расположено в передней секции. Кроме этого, в нем имеется газоход с удлинителями потока дымовых газов. Удлинители состоят из вставок, выполненных из чугуна, имеют внутренние ребра и распорки с отверстиями для прохода газов. Технические характеристики котла даны в табл. 6.

Рис. 14. Секционный водогрейный котел КЧМ-2: 1 —трансформатор; 2 – вход обратной воды; 3 – горелка; 4 – электромагнитный вентиль; 5 – соленоидный вентиль; 6 – подвод газа; 7 – ниппель; 8 – вход газа; 9 – вход горячей воды; 10 – тягопрерыватель
Таблица 6
Технические характеристики твердотопливного котла КЧМ-2

КЧМ-2М «Жарок-2» (рис. 15) – твердотопливный котел, оснащенный топкой длительного сгорания топлива, которую при необходимости можно перевести на природный газ. В топочной камере имеются обводные растопочные каналы, через которые можно производить загрузку топлива в полном объеме за один раз, что увеличивает продолжительность работы котла без обслуживания и контроля. Поскольку в конструкции имеются дополнительные вертикальные ребра, это дает возможность образовать обводные растопочные каналы, которые не заполняются топливом. Кроме этого, данные ребра образуют замкнутое зольное пространство, способствующее повышению плотности газа в котле. Это позволяет регулировать подачу воздуха при растопке котла путем открытия крышки воздухосборника под нужным углом.

Рис. 15. Водогрейный котел КЧМ-2М «Жарок-2»: 1 – пакет секций; 2 – решетка; 3 – шнур асбестовый; 4 – ручка; 5 – воздухосборник; 6 – ящик зольный; 7 – винт М6 х 12; 8 – гайка М6; 9 – защелка; 10 – шайба; 11 – отражатель; 12 – дверка нижняя; 13 – кронштейн; 14 – стенка правая; 15 – отражатель; 16 – болт М10 х 35; 17 – ручка; 18 – дверка верхняя; 19 – болт М10 х 20; 20 – стенка левая; 21 – турбулизатор; 22 – крышка; 23 – прокладка; 24 – штуцер; 25 – термометр манометрический; 26 – кронштейн; 27 – отвод; 28 – прокладка; 29 – оправа для термометра; 30 – прокладка; 31 – термометр стеклянный; 32 – патрубок газоотхода; 33 – шайба М10; 34 – планка; 35 – табличка; 36 – отвод; 37 – болт М10 х 25; 38 – прокладка; 39 – стенка правая; 40 – заклепка 8 х 50