Котел «Жарок-2» позволяет отапливать помещение объемом от 300 до 900 м3 при использовании отопительной системы с естественной или принудительной циркуляцией. В табл. 7 дана продолжительность работы этого котла. В табл. 8 показаны технические характеристики КЧМ-2М «Жарок-2».
Таблица 7
Продолжительность работы котла КЧМ-2М «Жарок-2»

Таблица 8
Технические характеристики твердотопливного котла КЧМ-2М «Жарок-2»


КЧМ-2У «Каунас» – это котел, работающий на антраците, коксе, каменном угле. При желании его можно переоборудовать для использования газообразного или жидкого топлива. Несмотря на то что теплоемкость «Каунаса» меньше, чем «Жарка—2», КПД его работы значительно выше. Этот вид котла имеет ширину 465 мм, высоту – 1062 мм. Котел КЧМ-2У предназначен для обогрева домов объемом 400—1300 м3. В табл. 9 даны технические характеристики котла КЧМ-2У.
Таблица 9
Технические характеристики твердотопливного котла КЧМ-2У «Каунас»

КЧМ-3ДГ имеет топку длительного горения. Он может эффективно работать в течение 12 ч без обслуживания. При желании его можно переоборудовать для использования газообразного топлива.
Данный котел применяется в загородных домах, имеющих водяную отопительную систему с давлением не более 0,6 МПа. В табл. 10 даны технические характеристики котла КЧМ-3ДГ.
Таблица 10
Технические характеристики твердотопливного котла КЧМ-3ДГ

Стальные твердотопливные котлы выпускаются маркой КС-Т. Буква «Т» означает, что котел работает на твердом топливе. Помимо этого, изготавливаются котлы марки КС-ТГ, работающие как на твердом, так и на газообразном топливе.
Котел КС-Т (рис. 16) – это стальной шкаф в виде прямоугольника, его стенки прекрасно теплоизолированы гидрофобизированным базальтовым картоном, а затем обшиты стальными листами и выкрашены эмалью светлого цвета. Вокруг топки имеется водяная рубашка, от конвективной части топка отделена козырьком.

Рис. 16. Водогрейный котел КС: 1 – топка; 2 – загрузочная топка; 3 – колосники; 4 – дверка для обслуживания колосниковой решетки; 5 – зольник; 6 – водяная рубашка; 7 – козырек, отделяющий конвективную часть; 8 – конвективный газоход; 9 – водопроводящие каналы; 10 – термометр; 11 – винт регулировки; 12 – заслонка
Передняя панель аппарата оснащена двумя дверками. Одна из них предназначена для загрузки топлива в котел, другая – для обслуживания колосников, которые находятся внизу топочной части.
Газоход представляет собой три горизонтальные щели, которые образуются за счет водопроводящих каналов, установленных с незначительным уклоном. Это сделано для более быстрого удаления пузырьков пара. Без обслуживания котлы КС-Т и КС-ТГ могут работать более 6 ч. В табл. 11 даны технические характеристики котла КС-Т, а в табл. 12 – котла КС-ТГ.
Таблица 11
Технические характеристики котлов КС-Т

Таблица 12
Технические характеристики котлов КС-ТГ


Самым распространенным и экономичным топливом в средней полосе России является древесина. Большой минус – быстрое сгорание топлива, при этом выделяется небольшое количество тепла. Промышленность выпускает котлы, в которых древесина сгорает намного медленнее, а теплоотдача увеличена. Это котлы с так называемыми шахтными топками (рис. 17).
Такого рода котел имеет только один ход, а также оснащен верхним отводом дымовых газов. При растопке котла потребуется двойная подача воздуха: первичная порция нужна для горения твердой части топлива, вторичная – для сжигания выделяющихся летучих веществ. Первичная порция подается в топку

Рис. 17. Котел с дровяной топкой из листовой стали: а – вид сбоку; б – вид спереди; в – поперечный разрез; 1 – дверца поддувальная; 2 – дверца прочистная; 3 – дверца топочная; 4 – регулятор горения; 5 – водонагреватель; 6 – дымовой патрубок; 7 – колосники; 8 – чистка с песчаным затвором; 9 – дроссель (открывающийся при растопке и закрывающийся при установившемся горении); 10 – трубчатый нагреватель через колосники, а вторичная – в надтопливное пространство.
Твердотопливные котлы подразделяются на одно-и двухконтурные. Двухконтурные котлы служат не только для обогрева помещений, но и для нагревания воды.
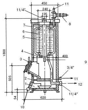
АТВ—17,5 представляет собой котел, состоящий из двух емкостей цилиндрической формы, которые вставлены одна в другую (рис. 18). Внутренняя емкость относится к отоплению, наружная – к горячему водоснабжению. Вода, предназначенная для отопления помещений, нагревается с помощью трубы, находящейся внутри теплообменника. По этой трубе проходят дымовые газы из топки. С помощью смежной цилиндрической поверхности и четырех скобовидных труб происходит перераспределение тепла между системами отопления и горячего водоснабжения. Эта поверхность омывается водой из обеих систем.

Рис. 18. Двухконтурный твердотопливный водогрейный агрегат АТВ-17,5: 1 – зольник; 2 – колосник; 3 – дверца топки; 4 – топка; 5 – теплообменник горячего водоснабжения; 6 – теплообменник отопления; 7 – корпус; 8 – предохранительный клапан; 9 – фурмы для подачи вторичного воздуха; 10 – дверца зольника; 11 – горячая вода; 12 – труба к отопительным приборам
Конструкция топки такова, что котел может работать бесперебойно около 8 ч даже без обслуживания. Топка вмещает в себя примерно 30 кг твердого топлива. В дверце зольника выполнены отверстия, через которые поступает первичная порция воздуха, проходя при этом через колосниковую решетку. Вторичный воздух, используемый для сжигания выделившихся при горении топлива летучих веществ, подается через фурму в надтопливное пространство. В табл. 13 даны технические характеристики котла АТВ-17,5.
Таблица 13
Технические характеристики двухконтурного котла АТВ-17,5


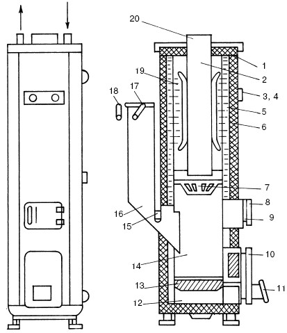
Рис. 19. Водогрейный двухконтурный агрегат АТВ-23,2 (модель 3107): 1 – кожух декоративный; 2 – газоход; 3-4 – термометры манометрические; 5 – теплообменник; 6 – теплоизоляция; 7 – чугунный отражатель; 8 – загрузочная дверца; 9 – фурмы для подачи вторичного воздуха; 10 – растопочная дверца; 11 – дверца зольника; 12 – зольник; 13 – колосниковая решетка; 14 – топка; 15 – заслонка; 16 – загрузочный бункер; 17 – стопор; 18 – затвор; 19 – теплообменник горячего водоснабжения; 20 – дымоотводящий патрубок
Путем модернизации котла АТВ-17,5 был создан агрегат марки АТВ-23,2 (рис. 19). Новая модель оснащена загрузочным бункером для подачи топлива емкостью 45 кг, что дает возможность котлу работать без обслуживания в течение 24 ч. Из бункера топливо подается в наклонную часть колосниковой решетки. Имеющаяся заслонка регулирует подачу топлива, и толщина его слоя на колосниках остается постоянной.
Котел такого типа может обогревать дом площадью около 100 м2. В табл. 14 даны технические характеристики котла АТВ-23,2.
Таблица 14
Технические характеристики двухконтурного котла АТВ-23,2
