
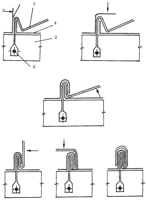
Рис. 46. Заделка кляммеры в одинарный стоячий фальц: 1 – плоская кляммера; 2 – брусок обрешетки; 3 – гвоздь; 4 – лист с малым отгибом; 5 – лист с большим отгибом
После установки кляммер собранную из картин рядовую полосу придвигают вплотную к уложенной и прифальцованной рядовой полосе. Соединение полос стоячим фальцем кровельщик начинает от конька кровли, двигаясь вниз по направлению к карнизу.
Рядовые полосы соединяют одинарными стоячими фальцами при помощи двух молотков – большого и малого. Большой молоток используется в качестве передвижного упора, а малых – для подгиба и уплотнения кромки.
При устройстве металлических кровельных покрытий иногда необходимо получить угловые фальцевые соединения, например, при изготовлении колпаков и зонтов дымовых труб, при покрытии парапетов, брандмауэров и др. Последовательность операции при формировании таких соединений показаны на рис. 47. На кровельных листах, предназначенных для углового соединения, отгибают кромки на 90°, после чего на одном из них сваливают кромку на поверхность, оставляя между ними небольшой зазор.

Рис. 47. Установка кляммер и их крепление к обрешетке
Листы соединяют между собой таким образом, чтобы согнутая под углом 90° кромка одного листа входила в зазор между сваленной кромкой и плоскостью другого листа. После этого фальц уплотняют и сваливают его на поверхность первого листа.
Воротник дымовой трубы (рис. 48) одна из самых трудоемких и уязвимых деталей стальной кровли.

Рис. 48. Воротник дымовой трубы для стальной кровли: 1 – двойной лежачий фальц; 2 – одинарный угловой фальц; 3 – соединение внахлест
Изготовление воротника требует мастерства и точности расчетов, иначе он даст течь. Воротник изготавливают из двух П-образных деталей, соединяющихся между собой внахлестку в направлении стока воды.
Совет
При изготовлении воротника делаются точные замеры дымовой трубы, затем необходимые размеры переносятся на стальные листы. Боковые детали воротника делают в двух экземплярах (для правой и левой стороны), а верхние и нижние детали – в одном экземпляре.
Детали воротника соединяются либо двойными лежачими фальцами по направлению стока воды, либо склепкой (при помощи 2–3 заклепок) и пропайкой. Детали в вертикальной части воротника, охватывающего ствол трубы, соединяют одинарными угловыми фальцами. Щели, образовавшиеся в местах переходов, просто пропаиваются или заделываются заплатками, а затем пропаиваются.
Покрытие крыши листовой сталью начинается с покрытия карнизного свеса и установки надстенных желобов. Вначале устанавливают карнизные штыри с хомутами (по осям водоприемных воронок) и Т-образные костыли 4 (рис. 49) на расстоянии 70 см друг от друга и 12 см от края свеса. Расстояние между штырем и ближайшим костылем должно быть равно 20–40 см. И те, и другие крепятся к обрешетке гвоздями и шурупами. Картины карнизных свесов 1 собираются в блоки 2. Длина блока равна расстоянию между двумя водоприемными воронками. Картины в блоке соединены лежачими фальцами 3, которые уплотняются при помощи киянки и металлической рейки. Боковые надрезы капельников картин должны плотно находить друг на друга. Затем уложенные сверху блоки карнизных свесов надвигаются на костыли таким образом, чтобы поперечные планки костылей вошли в загиб капельника. Блоки соединяются между собой двойными лежачими фальцами и закрепляются гвоздями, исходя из расчета: 3 гвоздя на каждый кровельный лист.

Рис. 49. Покрытие карнизного свеса: 1 – картина карнизного свеса; 2 – блок; 3 – лежачий фальц; 4 – Т-образный костыль; 5 – картина рядового покрытия; 6 – полоса; 7 – стоячий фальц; 8 – коньковый стоячий фальц; 9 – кляммера; 10 – брусок обрешетки
После установки карнизных свесов на них крепятся надстенные желоба. Желоба монтируются на крюках, прибиваемых перпендикулярно карнизному свесу на расстояние 670–730 мм друг от друга. Картины желобов, подобно картинам карнизных свесов, собираются в блоки, причем внутри блока картины укладываются внахлестку. Блоки соединяют двойными лежачими фальцами в направлении стока воды. Верхняя кромка надстенных желобов отгибается на 90° вверх для последующего соединения с кромкой рядового покрытия.
Внимание!
Сначала покрывают скаты, противоположные фасадным, а затем – фасадные. На скатных крышах первая полоса картин укладывается вдоль фронтона; на вальмовых, полувальмовых и многощипцовых – от начала конька. Направление укладки картин – от свесов к коньку. При формировании стоячих фальцев кровельщик должен стоять спиной к коньку, чтобы контролировать выполненную работу.
Картины 5 в полосах 6 соединяются лежачими фальцами 3 по направлению стока воды, причем при их уплотнении в качестве подкладки используют стальную полосу сечением 5x60 мм. В готовых полосах кромкогибщиками отгибают кромки для стоячих фальцев 7, которыми полосы потом соединяются при помощи гребнегиба и киянки. Все стоячие фальцы одного ската загибаются в одну и ту же сторону. Стоячие фальцы, выходящие на конек или на ребра, сваливаются на плоскость в сторону малого отгиба на длину 80-100 мм. Чтобы сделать коньковый или ребровые гребни, рядовые полосы обрезают таким образом, чтобы коньковая (ребровая) кромка на одном скате была высотой 30 мм, а на другом – 50 мм.
Полосы крепятся к обрешетке кляммерами 9. Для этого полоса фиксируется гвоздем у конька (за малый отгиб) и с помощью шнура проверяют ее положение. Кляммеры прибивают гвоздями (размером 3,5x45 мм) к боковым граням брусков обрешетки через каждые 50–70 см и затем закрепляют в стоячем фальце. На каждый лист должно приходиться не менее 2 кляммер. Если кляммер совпадает с лежачим фальцем, то его перемещают на другую сторону бруска.
Полосы располагают с таким расчетом, чтобы лежачие фальцы в них были смещены по отношению друг к другу не менее чем на 50 мм.
Фронтонный свес должен свисать с обрешетки на 40–50 мм. Крепят свес специальными концевыми кляммерами через каждые 30–40 см.
При укладке рядовых картин в последнюю очередь делают фальцевые соединения с надстенными желобами. Одинарный фальц, связующий надстенный желоб и рядовое покрытие, делается следующим образом (рис. 50):

Рис. 50. Соединение картин надстенного желоба и рядового покрытия при устройстве кровли: 1 – надстенный желоб; 2 – край рядового покрытия; 3 —металлическая лапа; 4 – киянка; 5 – молоток-подсекальник; 6 – гребнегиб; 7 – зубило; 8 – фальцевое соединение
• нижний продольный край рядового покрытия 2 укладывается на заранее сделанный отгиб надстенного желоба 1. Затем рядовое покрытие обрезается так, чтобы осталась свисающая кромка шириной не более 20 мм (рис. 50 а);
• подрезаются концы стоячих фальцев рядового покрытия и, треугольники высокой кромки сваливаются на малый отгиб;
• с помощью металлической лапы 3 и киянки 4 обрезанная кромка рядового покрытия загибается вниз (рис. 50 б);
• кромка рядового покрытия подгоняется внутрь фальцевого отворота надстенного желоба (рис. 50 в);
• фальцевое соединение уплотняется зубилом и киянкой (рис. 50 г).
Покрытие разжелобка. Вначале необходимо раскатать отогнутую ранее полосу покрытия разжелобка и изогнуть ее по продольной оси и плотно прижать к обрешетке, а затем соединить лежачими фальцами с надстенными желобами и картинами рядового покрытия.
При устройстве воротника дымовой трубы первой крепят нижнюю П-образную половину воротника при помощи гвоздей, затем крепят верхнюю половину внахлест на нижнюю (не менее 200 мм). Все края воротника соединяют с рядовым покрытием в продольном направлении стоячими фальцами с креплением кляммерами через 500 мм, а в поперечном направлении – одинарными лежачими фальцами.